采用標準
設計制造:鑄鋼截止閥按照BS 1873、ASME B16.34,鑄鋼截止閥按照API 602、BS5352
檢驗和試驗:API 598
法蘭連接尺寸:ASME B16.5
對焊端:ASME B16.25
承接韓端:ASME B16.11br /> 結構長度:ASME B16.10
溫壓等級:ASME B16.34
操作形式
一般情況下采用手輪、沖擊手輪或者齒輪傳動方式,可根據用戶需要采用鏈輪傳動或者電裝驅動。
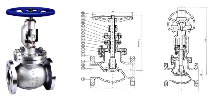
閥體和閥蓋連接形式
Class150-Class900采用拴接閥蓋;Class1500-Class2500采用自壓密封式閥蓋。
閥桿螺母
通常情況下,閥桿螺母材料采用ASTM A439 D2,同時可以根據用戶要求采用銅合金等材料,對于大口徑的截止閥,裝滾動軸承,可以有效減小截止閥的開啟力矩使閥門可以輕松開關。
閥桿設計
采用整體鍛造工藝制成,按照標準要求確定最小直徑。
產品性能規范


設和制造:BS1873和ASME B16.34
檢驗和試驗:API 598
法蘭連接尺寸:ASME B 16.5
對焊端:ASME B 16.25
承接焊端:ASME B 16.11
結構長度:ASME B 16.10
溫壓等級:ASME B 16.34
零部件材料


Class 600& Class 900鑄鋼截止閥
